Ürün Mekanik
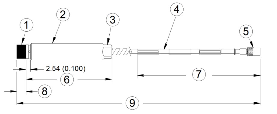
| Prob Ucu Çapı: | 8 mm |
| Toplam Uzunluk: | 45 metre (prob + uzatma kablosu) |
| İplik Boyutu: | M8 x 1,0 |
| Doğrusal Aralık: | 0 - 2 mm |
| Hassasiyet: | 7,87 mV/µm |
| Frekans Aralığı: | 0 ila 10 kHz |
| Çalışma Sıcaklık Aralığı: | -40°C ila +120°C (-40°F ila +248°F) |
| Basınç Derecesi: | 400 psi |
| Bağlayıcı Türü: | Minyatür koaksiyel |
| Uyumluluk: | API 670 standartları |
Ürün Detayları
| Uzatma Kablosu Kapasitansı | 69,9 pF/m (21,3 pF/ft) tipik |
| Saha Kablolaması | 0,2 ila 1,5 mm2 (16 ila 24 AWG). 3 iletkenli korumalı üçlü kablo ve kalaylı saha kablolaması kullanmanızı öneririz. 3300 XL Proximitor Sensörü ile monitör arasında maksimum uzunluk 305 metredir (1.000 fit). Daha uzun saha kablolama uzunlukları kullanıldığında yüksek frekanslarda sinyal düşüşü için Şekil 10 ve 12'deki frekans tepkisi grafiklerine bakın. |
| Doğrusal Aralık | 2 mm (80 mil). Doğrusal aralık hedeften yaklaşık 0,25 mm'de (10 mil) başlar ve 0,25 ila 2,3 mm (10 ila 90 mil) arasındadır (yaklaşık olarak -1 ila -17 Vdc). |
| Radyal Titreşim için Önerilen Boşluk Ayarı | -9 Vdc [yaklaşık 1,27 mm (50 mil)] |
| Artımlı Ölçek Faktörü (ISF) | |
| Standart 5 veya 1 metre Sistem | 0°C ile +45°C (+32°F ile +113°F) arasındaki 80 mil doğrusal aralıkta 0,25 mm'lik (10 mil) artışlarla ölçüldüğünde değiştirilebilirlik hatası dahil 7,87 V/mm (200 mV/mil) ± %5. |
| Standart 9 metrelik Sistem | 0°C ile +45°C (+32°F ile +113°F) arasındaki 80 mil doğrusal aralıkta 0,25 mm'lik (10 mil) artışlarla ölçüldüğünde değiştirilebilirlik hatası dahil 7,87 V/mm (200 mV/mil) ± %6,5. |
| 5 ve 9 Metre Sistemleri için Genişletilmiş Sıcaklık Aralığı (ETR) | 0°C ile +45°C (+32°F ile +113°F) arasındaki 80 mil doğrusal aralıkta 0,25 mm'lik (10 mil) artışlarla ölçüldüğünde değiştirilebilirlik hatası dahil 7,87 V/mm (200 mV/mil) ± %6,5. |
| En iyi uyan düz çizgiden (DSL) sapma | |
| Standart 5 veya 1 metre Sistem | 0°C ile +45°C (+32°F ile +113°F) arasındaki bileşenlerde ±0,025 mm'den (±1 mil) daha az. |
| Standart 9 metrelik Sistem | 0°C ile +45°C (+32°F ile +113°F) arasındaki bileşenlerde ±0,038 mm'den (±1,5 mil) daha az. |
| Genişletilmiş Sıcaklık Aralığı 5 ve 9 metre Sistemleri | 0°C ile +45°C (+32°F ile +113°F) arasındaki bileşenlerde ±0,038 mm'den (±1,5 mil) daha az. |
![]() | |
Diğer Modüller
BENTLY NEVADA 330130-045-01-00 Bently Nevada SEPM236028 Bently Nevada Yakınlık Dönüştürücü Sistemi Bently Nevada SEPM236028 BENTLY NEVADA 330130-045-01-00 Bently Nevada SEPM236028 Bently Nevada Yakınlık Dönüştürücü Sistemi Bently Nevada SEPM236028 BENTLY NEVADA 330130-045-01-00 Bently Nevada SEPM236028 Bently Nevada Yakınlık Dönüştürücü Sistemi Bently Nevada SEPM236028 BENTLY NEVADA 330130-045-01-00 Bently Nevada SEPM236028 Bently Nevada Yakınlık Dönüştürücü Sistemi Bently Nevada SEPM236028 BENTLY NEVADA 330130-045-01-00 Bently Nevada SEPM236028 Bently Nevada Yakınlık Dönüştürücü Sistemi Bently Nevada SEPM236028 Bently Nevada 330103-00-03-50-02-00 Yakınlık Dönüştürücü Sistemi Bently Nevada Kablo PLC Modülü Bently Nevada 3300 XL Bently Nevada Kablo PLC Modülü Bently Nevada 3300 XL Bently Nevada Kablo PLC Modülü Bently Nevada 3300 XL Bently 330103-00-15-05-01-00 Bently 330103-00-15-05-01-00 Bently Nevada Yakınlık Araştırması Bently Nevada Yakınlık Araştırması Bently Nevada Yakınlık Araştırması Bently Nevada Yakınlık Araştırması BENTLİ NEVADA 330103-12-25-10-01-00-CN BENTLİ NEVADA 330103-12-25-10-01-00-CN Bently Nevada 3300 XL Bently Nevada 3300 XL Bently Nevada 3300 XL BENTLY NEVADA 330103-00-15-05-01-00 BENTLY NEVADA 330103-00-15-05-01-00 Bently Nevada Kablo PLC Modülü Bently Nevada 3300 XL |
Mobil/WhatsApp:+852 6980 6006
E-posta:satış@yedekmerkezi.com




















