Ürün Veri Sayfası
| Elektrik | |
Proximitor Sensör Girişi | Temas kurmayan bir tanesini kabul eder 3300 serisi 5 mm, 3300 XL 8 mm Yakınlık Probu ve Uzatma Kablosu. |
| Güç | -17,5 Vdc ila -26 Vdc gerektirir olmayan bir şekilde kurulduğunda ateşleme devresi bağlandı kurulum çizimi başına 140979 maksimum 12 mA'da tüketim, -23 Vdc ila -26 Engelli Vdc. İşlem daha pozitif bir voltaj -23,5 Vdc azaltılmış bir sonuç verebilir doğrusal aralık. |
Tedarik Hassasiyet | 2 mV'den az değişim volt başına çıkış voltajı değişimi giriş voltajında. |
Çıktı Direnç | 50 Ω |
Ürün Detayları
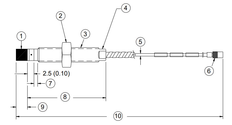
Özellikler Aksi belirtilmediği sürece, aşağıdaki özellikler geçerlidir 3300 XL 8 mm Proximitor Sensörü, uzatma kablosu ve 8 mm prob arasında+18˚C ve +27˚C (+64˚F ila +80˚F)de maksimum irtifa2000 metre, ile-24 Vdc güç kaynağı, a10 kΩ yük, bir AISI 4140 çelik hedef ve bir prob 1,27 mm (50 mil). Performans özellikleri sistemlere uygulanır sadece şunlardan oluşan3300 XL 8 mmbileşenler. Sistem doğruluk ve değiştirilebilirlik özellikleri geçerli değildir AISI 4140 çelik hedefimiz dışındaki herhangi bir hedefe kalibre edilmiş dönüştürücü sistemlerine. | ![]() |
Daha fazla ayrıntı istiyorsanız, lütfen çekinmeden benimle iletişime geçin.E-posta:satış@yedekmerkezi.com
3300 XL 8 mm Yakınlık Dönüştürücü Sistemi Veri Sayfası
| Nominal Prob DC Direnci | |
| Merkez İletkenden Dış İletkene Direnç (RPROBE) | |
Sondaj Uzunluk (m) | RPROBE(Ω) |
| 0.5 | 7.45 ± 0.50 |
| 1.0 | 7.59 ± 0.50 |
| 1.5 | 7.73 ± 0.50 |
| 2.0 | 7.88 ± 0.50 |
| 3.0 | 8.17 ± 0.50 |
| 5.0 | 8.73 ± 0.50 |
| 9.0 | 9.87 ± 0.50 |
Diğer Modüller
Bently Nevada 3301 XL Bently Nevada 3301 XL Bently Nevada 3301 XL Bently Nevada 3301 XL Bently Nevada 3301 XL Bently Nevada 3301 XL BENTLY NEVADA Yakınlık Dönüştürücü Sistemi Bently Nevada 3301 XL BENTLY NEVADA Yakınlık Dönüştürücü Sistemi Bently Nevada 3301 XL BENTLY NEVADA Yakınlık Dönüştürücü Sistemi Bently Nevada 3301 XL BENTLY NEVADA Yakınlık Dönüştürücü Sistemi Bently Nevada 3301 XL BENTLY NEVADA Yakınlık Dönüştürücü Sistemi Bently Nevada 3301 XL BENTLY NEVADA 330101-00-08-20-02-05 330101-00-08-20-02-CN BENTLY NEVADA 330101-00-08-20-02-05 330101-00-08-20-02-CN BENTLY NEVADA 330101-00-08-20-02-05 330101-00-08-20-02-CN BENTLY NEVADA 330101-00-08-20-02-05 330101-00-08-20-02-CN BENTLY NEVADA 330101-00-08-20-02-05 330101-00-08-20-02-CN BENTLY NEVADA 330101-00-08-20-02-05 330101-00-08-20-02-CN BENTLY NEVADA 330101-00-08-20-02-05 330101-00-08-20-02-CN BENTLY NEVADA 330101-00-08-20-02-05 330101-00-08-20-02-CN BENTLY NEVADA 330101-00-08-20-02-05 330101-00-08-20-02-CN BENTLY NEVADA 330101-00-08-20-02-05 330101-00-08-20-02-CN BENTLY NEVADA 330101-00-08-20-02-05 330101-00-08-20-02-CN 330101-00-08-20-02-05 Yakınlık Dönüştürücü Sistemi 330101-00-08-20-02-05 Yakınlık Dönüştürücü Sistemi 330101-00-08-20-02-05 Yakınlık Dönüştürücü Sistemi 330101-00-08-20-02-05 Yakınlık Dönüştürücü Sistemi |
Mobil/WhatsApp:+852 6980 6006
E-posta:satış@yedekmerkezi.com



















