BENTLY NEVADA 990-08-XX-01-00'ın özellikleri
Öğe | Spesifikasyon |
| Üretici | Bently Nevada |
| Ürün No. | 990-08-XX-01-00 |
| Ürün Türü | Titreşim Vericisi |
| Tehlikesiz, Bölge 2 veya Bölüm 2 Tehlikeli alan konumları | Güç Kaynağı: 28 V |
| Kablo uzunluğu | Proximitor Sensör Çıkışı (BNC konnektörü) için maksimum kablo mesafesi 3 metredir (10 feet). |
| Minimum hedef boyutu | 9,5 mm (0,375 inç) çapında. |
| Frekans tepkisi | 5 Hz ile 6.000 Hz +0, 3 dB. |
| Ülkenin Kökeni | geyik |
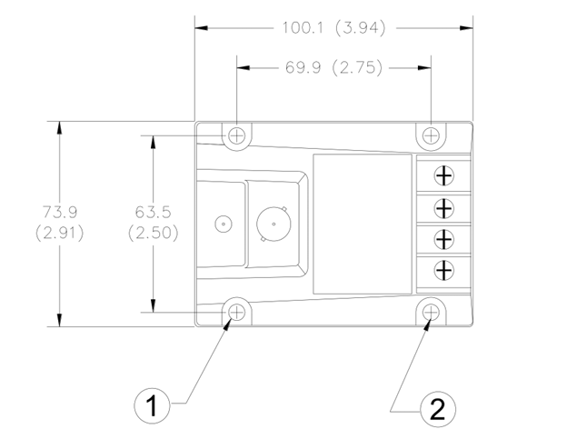
990-08-XX-01-00'ın Şekil ve Grafiği
![]() | ![]() |
| Şekil 1: 990 İtme Vericisinin Boyutları (Üstten Görünüm) | Şekil 2: 990 Titreşim Vericisinin Boyutları (yan görünüm) |
1. Montaj delikleri, 5,8 mm (0,23 inç) çapında, 4 yer 2. Bölme montaj delikleri, her birinden 4 adet. Montaj seçeneği belirtildiğinde 6-32 x 1.326 vida sağlanır | 1. 35 mm DIN rayı DIN montaj klipsleri (DIN ray montajı belirtildiğinde) |
Daha fazla ayrıntı istiyorsanız, lütfen çekinmeden benimle iletişime geçin. E-posta:satış@yedekmerkezi.com
Ürün Özelliği Ve Görselleri
Uyumluluk
3300 NSv Yakınlık Probları:Verici, girişleri kabul eder3300 NSv yakınlık problarıtitreşim ölçümü için.
Uyumlu Uzatma Kabloları:İle çalışır5 m ve 7 m sistem uzunluğunda uzatma kablolarıKurulumda esneklik için.
Tanı Araçları:ÖzelliklerPROX ÇIKIŞIVeİLEterminaller, bir koaksiyel konnektör ile birlikte, tanılama amaçlı dinamik titreşim ve boşluk voltajı sinyal çıkışlarına olanak tanır.

Özellik
Entegre Proximitor Sensörü:Harici bir üniteye olan ihtiyacı ortadan kaldırarak kurulumu kolaylaştırır.
4-20 mA Çıkış:Kontrol sistemlerine kolay entegrasyon için orantılı 4-20 mA titreşim sinyali sağlar.
Tanılama Yetenekleri: İçerirPROX ÇIKIŞIVeİLEDinamik titreşim ve teşhiste kullanılan boşluk voltajı sinyal çıkışları için terminaller ve bir koaksiyel konnektör.
Başvuru
Santrifüj Hava Kompresörleri: Titreşim izleme ve koruma sağlayarak optimum performansı garanti altına alır ve aşırı titreşimden kaynaklanan hasarları önler.
Küçük Pompalar: Mekanik arızalar veya dengesizliklerden kaynaklanan hasarlardan pompaları korumak için titreşim seviyelerini izler.
Motorlar: Aşınma veya arıza belirtilerini erken tespit etmek, güvenilirliği artırmak ve bakım maliyetlerini azaltmak için kullanılır.
Diğer İlgili Modül
Bently Nevada 990-05-70-02-01 990 Titreşim Vericisi Bently 990-08-XX-01-00 Bently 990-08-XX-01-00 Bently 990-08-XX-01-00 Bently 990-08-XX-01-00 Bently Nevada 990-05-70-02-00 990 Titreşim Vericisi Bently Nevada 990-05-50-01-05 990 Titreşim Vericisi Bently Nevada 990-08-XX-01-00 Bently Nevada 990-08-XX-01-00 Bently Nevada 990-08-XX-01-00 Bently Nevada 990-04-XX-01-01 MOD:165335-01 990 Titreşim Vericisi Bently Nevada 990-04-70-02-00 Titreşim Vericisi Bently Nevada 990-04-70-01-05 990 Titreşim Vericisi Bently Nevada Titreşim Vericisi Bently Nevada Titreşim Vericisi Bently 990-08-XX-01-00 Bently 990-08-XX-01-00 Bently Nevada Titreşim Vericisi Bently Nevada Titreşim Vericisi Bently Nevada 990-08-XX-01-00 Bently Nevada 990-08-XX-01-00 Bently Nevada 990-04-70-01-00 990 Titreşim Vericisi Bently Nevada 990-04-50-01-00 990 Titreşim Vericisi Bently Nevada 9200-06-05-05-00 İki Kablolu Transdüser Bently Nevada 9200-06-01-10-00 İki Kablolu Transdüser Bently Nevada 9200-01-02-10-00 İki Kablolu Hız Sismoprobe Transdüseri |
Mobil/WhatsApp:+852 6980 6006
E-posta:satış@yedekmerkezi.com




















