Ⅰ
Ürün Özellikleri
| Üretici | Bently Nevada | Bently Nevada 3500/72M |
| Parça Numarası | 3500/32 149986-02 | Bently nevada 140734-08 |
| Ürün Türü | 4-Kanal Röle Modülü | 140734-08 |
| Çalışma Sıcaklığı | -30°C ile +65 santigrat derece arası | 3500/72M |
| Güç Tüketimi | Tipik olarak 6 watt | Bently Nevada Çubuk Pozisyon Monitörü |
| Hayata Ulaşın | 100.000 çevrim @ 5 A, 24 Vdc veya 120 Vac. | 140734-08 |
| Operasyon | Her kanal Normalde seçilebilir anahtardır Enerjisiz veya Normal Enerjili. | 3500/72M |
| Nem | %95 Yoğuşmasız | Bently Nevada Çubuk Pozisyon Monitörü |
Ⅱ
Ürün Rakamları Ve Detaylar

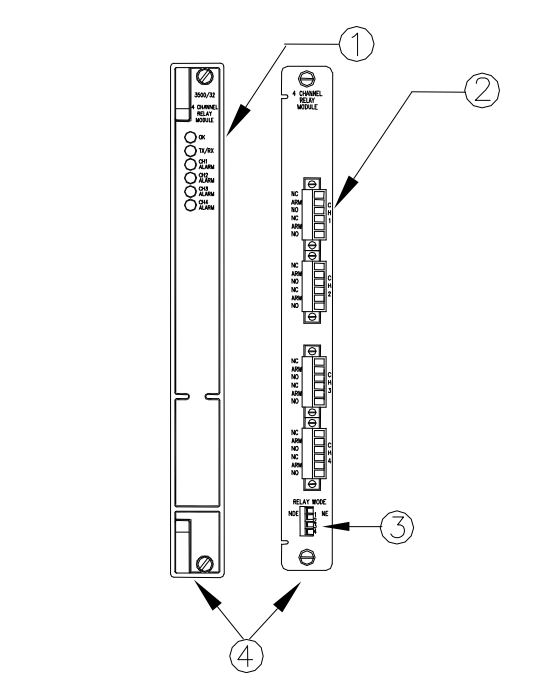
4 Kanallı Röle Modülünün ön ve arka görünümü
1) LED'ler röle kanallarının durumunu gösterir.
2) Röle kontaklarını harici cihazlara bağlamak için kullanılan terminaller.
3) Röle kontaklarının nasıl çalıştığını kontrol eden anahtarlar.
4) 4 Kanal Röle ve G/Ç Modülleri
Detaylar:
Bently Nevada3500/32 149986-02 4 kanallı bir röle modülüdür3500 Serisi Makine Koruma ve İzleme Sistemi ile entegrasyon için tasarlanmıştır. Trip, alarm ve sıfırlama sinyalleri dahil olmak üzere kritik koruma fonksiyonları için güvenilir ve hızlı röle çıkışları sağlar. Modül, sağlam, düşük gecikmeli yanıt süreleri sunarak ve endüstriyel ortamlarda çeşitli izleme yapılandırmalarını destekleyerek ekipman güvenilirliğini artırmak için tasarlanmıştır. Esnek tasarımı, karmaşık sistemlere sorunsuz entegrasyonu garanti ederek zorlu uygulamalarda makinelerin sürekli izlenmesini ve korunmasını sağlar.
Temel Özellikler
Dört Bağımsız Kanal: Farklı koruma fonksiyonları (örneğin, trip, alarm, reset) için ayrı röle kontrolüne olanak sağlar.
Hızlı Tepki Süresi:Kritik makine koruma senaryolarında gecikmeleri en aza indirerek rölenin hızlı aktivasyonunu sağlar.
Çok Yönlü Entegrasyon:Kapsamlı izleme için Bently Nevada 3500 Serisi Makine Koruma Sistemi ile uyumludur.
Gelişmiş Güvenilirlik: Dayanıklılık ve sürekli çalışmaya odaklanarak endüstriyel ortamlar için üretilmiştir.
Esnek Yapılandırmalar: Çeşitli makine koruma ayarlarını destekleyerek kullanıcıların sistemi belirli ihtiyaçlara göre uyarlamasına olanak tanır.
Arıza Tespiti: Röle durumu için tanılama sağlar, herhangi bir sorun veya arızanın hızlı bir şekilde belirlenmesini sağlar.
Yüksek Kaliteli Bileşenler: Yüksek performans ve uzun hizmet ömrü için tasarlanmıştır, bakım ihtiyaçlarını ve operasyonel duruş sürelerini azaltır.
Bently Nevada 3500/32 Bently Nevada 3500/32 Bently Nevada 3500/32 Bently Nevada 3500/32
Daha fazla ayrıntı istiyorsanız lütfen çekinmeden benimle iletişime geçin.E-posta:satış@yedekmerkezi.com
Ⅲ
Ürün Görselleri
Bently Nevada 3500/32
Bently Nevada 3500/32
Bently Nevada 3500/32
Ⅳ
Diğer Modüller
| PM240-2 6SL3210-1PE31-5UL0 | 3BSE042236R1 | SA54.0550.0033.0000.0 |
| SPBRC410 BRC410 | P350-3 6AU1350-3AK41-1BE2 | SO84.032.0003.0101.2 |
| AX460/10001 | E16A342.011 | SPMC2402 |
| 1P400-280HF | UMC554000-07 | NCU572.2 6FC5357-0BY21-1AE1 |
| 60M100-00 | ACS580-01-096A-4 | LSC-192-2-20-560-P6B0R1PM0 |
| RET316*4 HESG448750M2 | 3BHB006714R0211 SYN5201a-Z | SO84.032.0003.0001.2 |
| 3HAC17484-7/04 | BCU-12C 3AUA0000110429 | SO24.007.0070.0101.1 |
| 3BHB006714R0271 SYN5201a-Z | DSDP170 57160001-ADF | LSMM13-100-4N-110 LSMM13-100-4N-110 |
| 19C5B30-1200 | HDS04.2-W200N-HS23-01-FW HDS04.2-W200N | 6AV7260-5GA10-0BX0 5E32600250 |
| MP210A4R | HWI2808L IQR1331 | DX2048T-3-4-1 |
| VPB40 | HR16000MTLCPC | AXD3.100-S0-0-B |
| C6930-0030 | RCU500 603108 | DMV2322-550A DMV 2322-550A |
| K4LCN-16 51403519-160 | 19P6H2G-C2ZK | MD2000 MD2000 54-400 |
| Bently Nevada 149986-02 Bently Nevada 149986-02 | Bently Nevada 149986-02 Bently Nevada 149986-02 | Bently Nevada 149986-02 Bently Nevada 149986-02 |
| Bently Nevada 4 Kanallı Röle Modülü | Bently Nevada 4 Kanallı Röle Modülü | Bently Nevada 4 Kanallı Röle Modülü |
| Bently Nevada 4 Kanallı Röle Modülü | Bently Nevada 4 Kanallı Röle Modülü | Bently Nevada 4 Kanallı Röle Modülü |
| 149986-02 149986-02 149986-02 149986-02 | 149986-02 149986-02 149986-02 149986-02 | 149986-02 149986-02 149986-02 149986-02 149986-02 |
| 3500/32 3500/32 3500/32 3500/32 | 3500/32 3500/32 3500/32 3500/32 | 3500/32 3500/32 3500/32 3500/32 |

Mobil/WhatsApp:+852 6980 6006
E-posta:satış@yedekmerkezi.com

















